数据通路
词条百科 28
目录
数据通路
数据路径是功能单元的集合,例如执行数据处理操作的算术逻辑单元或乘法器、寄存器和总线。 它与控制单元一起组成中央处理单元 (CPU)。 可以通过使用多路复用器连接多个数据路径来创建更大的数据路径。
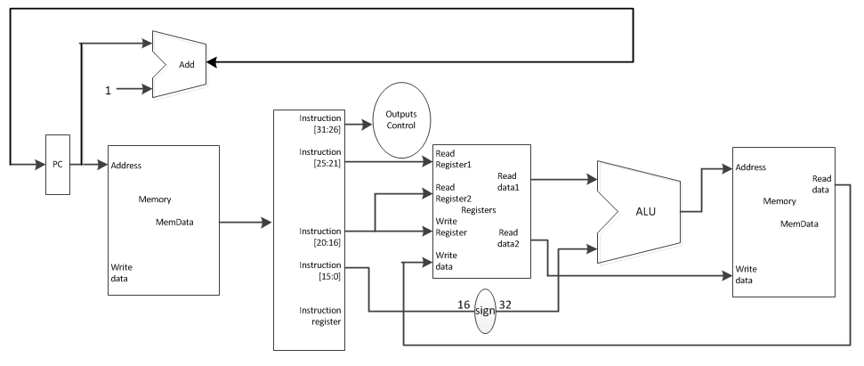
数据路径是 ALU、寄存器组和允许数据在它们之间流动的 CPU 内部总线。
最简单的 CPU 设计使用一条公共内部总线。高效加法需要稍微复杂一点的三内部总线结构。许多相对简单的 CPU 有一个 2 读 1 写寄存器文件,连接到 2 个输入和 1 个输出 逻辑单元。
在 20 世纪 90 年代后期,可重新配置数据路径领域的研究越来越多——可以使用可编程结构在运行时重新调整用途的数据路径——因为这样的设计可以实现更高效的处理以及大量节能。
带数据路径的有限状态机
具有数据路径的有限状态机 (FSMD) 是一种数学抽象,它将控制程序流的有限状态机与数据路径相结合。 它可用于设计数字逻辑或计算机程序。

FSMD 本质上是顺序程序,其中的语句已安排到状态中,从而导致更复杂的状态图。 在这里,一个程序被转换成一个复杂的状态图,其中状态和弧可能包括算术表达式,这些表达式可能使用外部输入和输出以及变量。 FSMD 抽象级别通常称为寄存器传输级别。
FSM 不使用变量或算术运算/条件,因此 FSMD 比 FSM 更强大。 FSMD 在表达能力上等同于图灵机。
内容来源于网络,本内容不代表16map.com立场,内容投诉举报请联系16map.com客服。如若转载,请注明出处:https://16map.com/wiki/nmjeei5lnizk